Gute Qualität,
schnelle, pünktliche Lieferung,
günstige Preise,
über 25 Jahre Erfahrung,
hohe Belastbarkeit: bis 825 kg Tiergewicht.
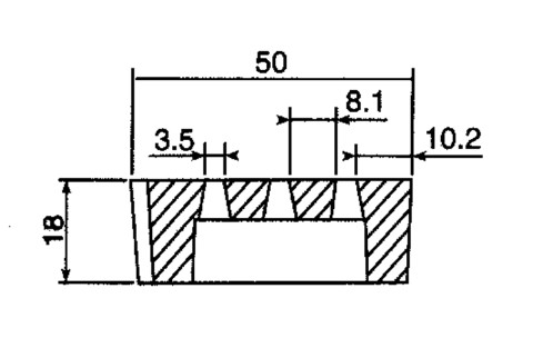
| Art.Nr. | Artikel | Länge [cm] | Breite [cm] | Höhe [cm] | Schlitz | Einheit | Preis |
| 601560 | FLÄCHENSPALTENBODEN | 150 - 350 | 50 | 18 | 3,5 cm | qm | |
| Gebrauchslast: 1,5 t | |||||||
| Gewicht: 244 kg / qm | |||||||
| 601590 | FLÄCHENSPALTENBODEN | 150 - 300 | 100 | 18 | 3,5 cm | qm | |
| Gebrauchslast: 5,0 t | |||||||
| Gewicht: 264 kg / qm | |||||||
| 601591 | FLÄCHENSPALTENBODEN | 150 - 300 | 100 | 18 | 3,0 cm | qm | |
| Gebrauchslast: 5,0 t | |||||||
| Gewicht: 270 kg / qm | |||||||
| 601592 | MEHRPREIS für Flächenspaltenboden mit 100 cm Breite,für Längen von 310 - 350 cm | qm | |||||
| MEHRPREIS für Spalten unter 50 qm | qm | ||||||
| Die Preise gelten für volle LKW-Ladungen (mind. 20 Tonnen) oder bei Mitladegelegenheit, frei Hof. |
![]() |
![]() |
![]() |
![]() |
| Spalten, 50 cm breit | Spalten, 100 cm breit |